Shutting Joints

This chapter deals with the joint made by the upright rail of a door frame which carries the lock, or handle, generally called the “slamming stile.” Many and varied are the methods used to make a draught and air-tight joint at the meeting of the slamming stile and the carcase end, and our sketches illustrate some of the simplest and also some of the best and most expensive methods.

Fig. 253.—Shutting Stile of     Cupboard Door.

Fig. 253.—Shutting Stile of Cupboard Door.

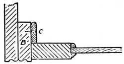
Fig. 254.—Showing Cupboard     End Thicknessed (see B).

Fig. 254.—Showing Cupboard End Thicknessed (see B).

Fig. 255.—Dust-proof Cupboard Door. Fig. 255.—Dust-proof Cupboard Door.

Fig. 253 is a part plan of the end of a simple cupboard of which the carcase end is all of one thickness (i.e., not lined up in thickness). A small strip of wood (A) is glued and screwed on the end to form a stop to the door and to prevent the access of dust to the interior of the cupboard.

Fig. 254 illustrates a similar method; the stop (C) is seen, as in the previous illustration, but it will be noticed also that the carcase end in this case is lined up (see B) to give a pilaster-like appearance to the end, and the moulding is selected on account of its suitability to hide the joint of the lining piece.

Fig. 255 is of a more intricate type, and is often used on jewellers’ showcases. The end at the right hand is slightly rebated to receive the frame, and both the rail and the end are grooved with a plough plane. A separate bead is made and glued into the groove of the door frame (D), engaging the groove in the carcase end when the door is closed. The shutting stile and the end are worked with a hook joint (E), and if carefully made they are practically dust-tight.

Fig. 256.—Meeting Stiles with rebated Astragal. Fig. 256.—Meeting Stiles with rebated Astragal.
Fig. 257.—Door Rebated     for Astragal.

Fig. 257.—Door Rebated for Astragal.

Fig. 258.—Door with     Brass Astragal.

Fig. 258.—Door with Brass Astragal.

Fig. 256 shows the meeting of two doors which open outwards, a separate piece of timber being made to form a rebated astragal mould (F) and glued to the right-hand door. This method gives a neat and effective finish.

Fig. 257 is similar to the above, with the exception that the rail of the door is rebated (G) to receive the astragal moulding. This method is preferred on the best class of work, because it shows no unsightly joint at the inside of the door frame.

Fig. 258 illustrates the type of joint made by using a brass astragal mould (H) as employed on high-class work, frequently seen on French furniture of the Louis periods. In Fig. 259 is shown a piece of brass astragal moulding, which may be procured from any cabinetmaker’s ironmonger in suitable lengths. It is fixed in position by slightly rebating the edge of the door and fastening with ordinary countersunk brass screws.

Fig. 259.—Brass     Astragal.

Fig. 259.—Brass Astragal.

Fig. 260.—Curved Cupboard Doors with     Rebated Meeting Joint.

Fig. 260.—Curved Cupboard Doors with Rebated Meeting Joint.

Fig. 261.—Rebated     Meeting Joint.

Fig. 261.—Rebated Meeting Joint.

Fig. 262.—Meeting Joint     with applied Astragal.

Fig. 262.—Meeting Joint with applied Astragal.

Fig. 260 is a rebated joint, broken at the front by a bead moulding. The illustration shows its application to a circular-fronted cupboard, and it will be noticed that the hinged rails are received in a rebate which is worked on the carcase ends. The rebated joint at the centre of the two doors is worked slightly on the bevel, so as to allow for clearance when opening the door.

Two of the commonest meeting joints of doors are seen in Figs. 261 and 262. In the former case the stiles are rebated (as already shown in Fig. 260), whilst at Fig. 262 an astragal bead is glued to the right-hand stile. In Fig. 261 a bead is worked on the right-hand stile to mask the joint.

Fig. 263 is the hook joint used on good-class joinery and cabinet work. A pair of special wood planes are required to make the joint in a cheap and efficient manner. The cost of a pair of 58-in. hook joint planes is from 6s. to 8s. They are of similar size and general appearance to the ordinary ovolo moulding plane.

Fig. 263.—The Hook Joint. Fig. 263.—The Hook Joint.
Fig. 264.—Hook Joint with loose Tongues. Fig. 264.—Hook Joint with loose Tongues.
Fig. 265.—Rebated Joint with Tongue Slip. Fig. 265.—Rebated Joint with Tongue Slip.

Fig. 264 is a special type of hook joint as used on larger work. The joint may be made by using the plough plane, the rebate plane and a suitably-sized bead plane, the loose tongues being inserted as shown and fastened by screws and glue.

Fig. 265 is a rebated joint with loose tongue-slip and astragal mould, suitable for frames over 114 in. in thickness. The loose tongue-slip is glued into the right-hand door frame.

Fig. 266 shows a shutting joint used to prevent permeation of dust to the interior of a drawer. The drawer front is grooved and engages a suitably-formed slip which is screwed to the bearer as indicated in the illustration. Occasionally some difficulty is experienced when fitting the slip to a narrow drawer, but this can always be overcome by putting in the screws from the top of the bearer instead of from underneath.

Fig. 266.—Dust-proof Drawer, showing the Front grooved to engage a Slip which is screwed to the Bearer Rail. Fig. 266.—Dust-proof Drawer, showing the Front grooved to engage a Slip which is screwed to the Bearer Rail.

Shutting joints which are required to be “light-tight,” such as those used in photographic work, are generally formed by slightly grooving the frame and inserting a strip of black velvet. The friction of the high pile of the velvet prevents the filtration of light through the joint.

When making air-tight showcases, one of the best and simplest tests is to place a lighted candle in the case and close all the doors; if the candle goes out within three minutes you have accomplished your object.


<< BACK | INDEX: Woodwork Joints by William Fairham | NEXT >>